首页 >> 生产线配置方案 >> 磨粉生产线

磨粉生产线

用途和使用范围

磨粉机生产线通常由颚式破碎机、畚斗提升机、电磁振动给料机、磨粉主机、辅机、风机、集中电控等设备组成。根据用户的需要磨粉机生产线主机可选择配置高压悬滚磨或超压梯形磨。下面以超压梯形磨粉机为例介绍我公司磨粉机生产线。

磨粉机生产线流程

物料经颚式破碎机破碎后由斗式提升机送至储料仓,振动给料机可以把物料均匀、连续地送到主机进行研磨。研磨后的粉末在鼓风机的作用下吹向选粉机进行分选。分选后的物料由管道送到储料仓,最后经出料阀输出即为成品。整套生产线工作过程中气压为负。

首先,鼓风机吹出的空气伴随着粉末物料经管道进入储料仓上部的旋风收集器内,由回风管道返回鼓风机,形成空气循环利用。其次,集粉器下端装有锁粉器,其作用是将外界正压气体与集粉器负压气体隔离开,大大提高了产量。再次,主机底部残留的空气和粉尘通过管道被送到布袋除尘器进行过滤,粉尘等杂物被布袋除尘器吸附,净化后的空气排放到外界,有效地保护了环境。

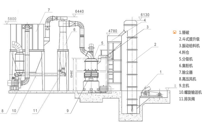
磨粉机生产线流程

物料经颚式破碎机破碎后由斗式提升机送至储料仓,振动给料机可以把物料均匀、连续地送到主机进行研磨。研磨后的粉末在鼓风机的作用下吹向选粉机进行分选。分选后的物料由管道送到储料仓,最后经出料阀输出即为成品。整套生产线工作过程中气压为负。

首先,鼓风机吹出的空气伴随着粉末物料经管道进入储料仓上部的旋风收集器内,由回风管道返回鼓风机,形成空气循环利用。其次,集粉器下端装有锁粉器,其作用是将外界正压气体与集粉器负压气体隔离开,大大提高了产量。再次,主机底部残留的空气和粉尘通过管道被送到布袋除尘器进行过滤,粉尘等杂物被布袋除尘器吸附,净化后的空气排放到外界,有效地保护了环境。

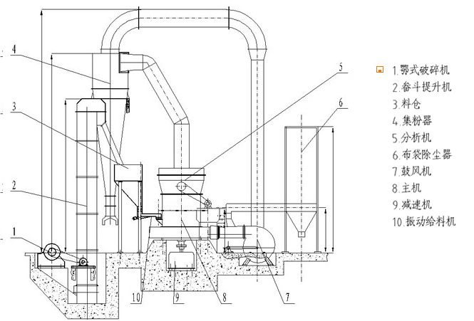
磨粉机生产线流程

物料经颚式破碎机破碎后由斗式提升机送至储料仓,振动给料机可以把物料均匀、连续地送到主机进行研磨。研磨后的粉末在鼓风机的作用下吹向选粉机进行分选。分选后的物料由管道送到储料仓,最后经出料阀输出即为成品。整套生产线工作过程中气压为负。

首先,鼓风机吹出的空气伴随着粉末物料经管道进入储料仓上部的旋风收集器内,由回风管道返回鼓风机,形成空气循环利用。其次,集粉器下端装有锁粉器,其作用是将外界正压气体与集粉器负压气体隔离开,大大提高了产量。再次,主机底部残留的空气和粉尘通过管道被送到布袋除尘器进行过滤,粉尘等杂物被布袋除尘器吸附,净化后的空气排放到外界,有效地保护了环境。

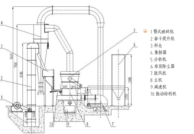
磨粉机生产线流程

物料经颚式破碎机破碎后由斗式提升机送至储料仓,振动给料机可以把物料均匀、连续地送到主机进行研磨。研磨后的粉末在鼓风机的作用下吹向选粉机进行分选。分选后的物料由管道送到储料仓,最后经出料阀输出即为成品。整套生产线工作过程中气压为负。

首先,鼓风机吹出的空气伴随着粉末物料经管道进入储料仓上部的旋风收集器内,由回风管道返回鼓风机,形成空气循环利用。其次,集粉器下端装有锁粉器,其作用是将外界正压气体与集粉器负压气体隔离开,大大提高了产量。再次,主机底部残留的空气和粉尘通过管道被送到布袋除尘器进行过滤,粉尘等杂物被布袋除尘器吸附,净化后的空气排放到外界,有效地保护了环境。

磨粉机生产线流程

物料经颚式破碎机破碎后由斗式提升机送至储料仓,振动给料机可以把物料均匀、连续地送到主机进行研磨。研磨后的粉末在鼓风机的作用下吹向选粉机进行分选。分选后的物料由管道送到储料仓,最后经出料阀输出即为成品。整套生产线工作过程中气压为负。

首先,鼓风机吹出的空气伴随着粉末物料经管道进入储料仓上部的旋风收集器内,由回风管道返回鼓风机,形成空气循环利用。其次,集粉器下端装有锁粉器,其作用是将外界正压气体与集粉器负压气体隔离开,大大提高了产量。再次,主机底部残留的空气和粉尘通过管道被送到布袋除尘器进行过滤,粉尘等杂物被布袋除尘器吸附,净化后的空气排放到外界,有效地保护了环境。

返回页首首页